Published in Mobiles

Essential hints at pop up camera

by on05 March 2018


PH-2?

The Essential, the company started by Andy Ruben has been up for a tough start but there is a big indication that Snapdragon 845 powered new version of the phone is right around the corner.

Essential PH1 launched late and essentially ended up having some camera problems that were improved over time via updates. Just recently the company announced  three new colors Ocean Depths, Copper Black and Stellar Gray. They look really classy and definitely stand out from the bushel of phones around you.

Essential also had a presence at the Mobile World Congress last week in Barcelona, and many hinted that this might be the way to pre-announce the fact that Essential has European or potential global plans. The company didn’t announce anything to us, but there are clear suspicions that Essential will go beyond the US market at some point.


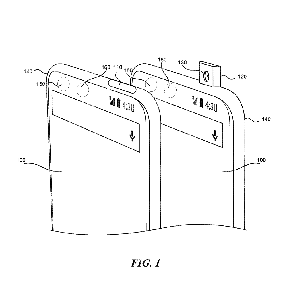
Andy Ruben used the power of Twitter to hint at the pop-up camera patent applied by Essential Products Inc in late 2015.

"In one embodiment, the camera is placed inside the mobile device, and can pop outside the mobile device when the camera is activated. When the camera is inactive the camera retracts inside the mobile device and becomes unnoticeable to the user.

"In another embodiment, the camera is integrated into the mobile device display as a camera icon. The integrated camera serves two purposes: to record pictures, and to act as a camera icon, that when selected activates the camera.

"By removing the camera from the front side of the mobile device, or by integrating the camera into the display screen of the mobile device, the size of the mobile device display screen can be increased.“

 PH2

As you can see, the future of the phones might be a pop-up front camera after all. Adding a mechanical part to the phone design is never a great solution, as these things tend to wear out or break, but to be honest, not too many people are using front face cameras, at least not on a regular base. Of course, unless you are self-obsessed teenager, or shall we say millennial.

Xiaomi set the trend followed by Samsung and later with an Apple. End users want bigger displays and less bezel. iPhone X and many other notch design followers added a camera notch, that is clearly a temporary solution waiting for technology to catch up. Apple would not risk adding the pop up camera just yet. They first want to milk your money for the iPhone X, before they go for smaller notch or potentially a pop up camera.

Fudzilla didn’t receive any confirmation that the PH-2 might be the official name, but it just sound logical to us.  


Last modified on 05 March 2018
Rate this item
(0 votes)

Read more about: