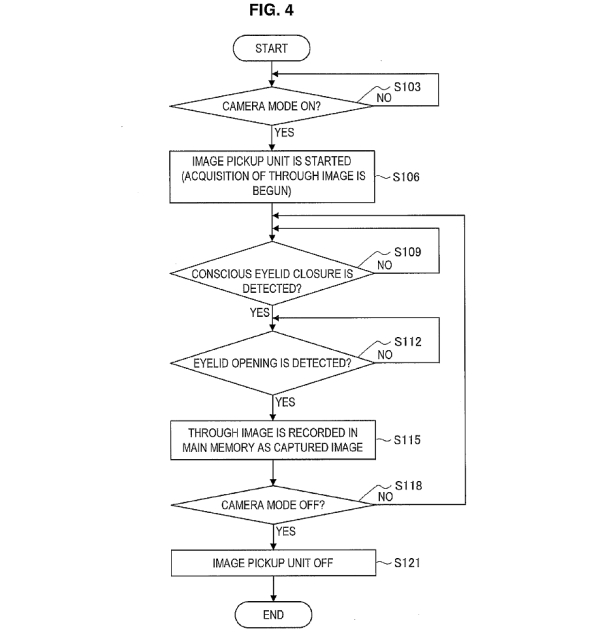
Sony is the second to file a patent for integrating a wearable camera into a contact lens, after it was discovered that Samsung filed a patent in South Korea for a similar concept on April 5th. Sony's patent is filed under the name “Contact Lens and Storage Medium” and is slated to become a full-fledged camera device, complete with a lens, main CPU, imaging sensor, storage area, and a wireless communication module. The camera unit also includes support for autofocus, zooming, and image stabilisation.

Sony's contact lens patent (US 2016/0097940 A1), filed April 7, 2016
Interestingly enough, the patent describes Sony's lens as receiving power wireless via one of its built-in antenna modules. Depending on the electromagnetic frequencies the company has decided to adopt, this could be a huge make-or-break issue for electostatically hypersensitive individuals (current polls have them between 4 and 5 percent in California, Sweden, Switzerland, and the UK, though numbers could be much higher depending on survey, media awareness of double-blind research studies, as well as response and diagnosis).

This isn't the first time we've seen wireless sensor technology integrated into a contact lens. In January 2014, Google announced its ambitions to create a glucose-level monitoring contact lens for the diagnosis and monitoring of blood sugar levels for diabetic patients. Google's project integrates several miniscule sensors loaded with tens of thousands of transistors that measure glucose levels from a wearer's tear drops, along with a low-power wireless transmitter to send results to other wearable devices along with smartphones and PCs.
More recently on April 7, it was discovered that Samsung could be working on mass-marketing a CMOS imaging sensor into a contact lens thanks to a new patent discovered by SamMobile and GalaxyClub.nl. The patent application, filed in South Korea, includes a display that projects images directly into a wearer's field of view and includes a camera, an antenna, and several sensors for detecting movement and eye blinks.
Sony's contact lens patent could be successor to its HMZ 3D displays
Rather than placing focus solely as a healthcare solution, Sony's patent appears to become a more biologically integrated implementation of the company's early head-mounted displays (HMDs) with wireless video streaming. The big difference this time, however, will be the inclusion of a camera lens and near-undetectable appearance, depending on how well Sony manages to camoflauge any chips and modules into its first-generation contact lens units.
In November 2011, Sony introduced its first-generation HMZ-T1 head mounted 3D display, complete with dual 1280x720p OLED displays, support for 5.1 channel surround via earbuds and signal input from an HDMI 1.4a cable. This model weighed 420g / 0.93lbs with a launch price of $799.
In October 2012, Sony introduced the second-generation HMZ-T2 followup in Japan. This model reduced weight by nearly 20 percent (330g / 0.73lbs) and replaced earbuds with a dedicated 3.5mm headphone jack, complete with near-latency free wireless HD viewing (dual 1280x720p displays), 24p cinema picture support, and signal input via HDMI 1.4a cable.
In November 2013, Sony introduced the HMZ-T3W, the third-generation of its head mounted 3D viewer with near-latency free, wireless HD viewing (dual 1280x720p displays) with a 32-bit DAC delivering 7.1 channel audio (5Hz - 24KHz), and signal input via MHL cable or HDMI 1.4a. This device was not available in the United States and launched in Europe for a stunning £1,300 ($2,035) and is alternatively available as an import from Japan for $1090.
Will not come cheap
Based on the initial launch prices of Sony's previous HMZ headsets ($799 and above) and the Google Glass launch price of $1499, and depending on the company's target market, we might expect Sony's first-generation contact lenses to be somewhere in between these two price points when they begin mass-production within the next couple years.


